收藏
回答

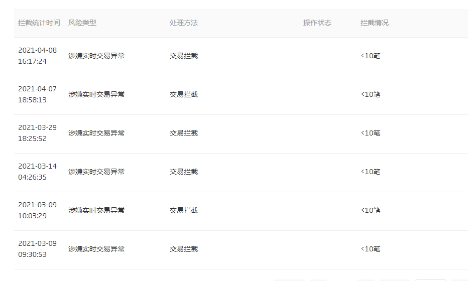
涉嫌实时交易异常,请帮忙看看,这怎么回事啊?

涉嫌实时交易异常 商户号:1604302734 我这是认证过的公众号支付 正常运营的啊 能不能别这么敏感 对我们运营有很大的影响 请求官方处理

回答关注问题邀请回答
收藏

3 个回答

  • 微信支付小助手
    微信支付小助手
    2021-04-09

    请提供真实、有效、有力的资料进行申诉,感谢您的配合和使用

    2021-04-09
    有用
    回复 1
    • 🇼elfare🕊
      🇼elfare🕊
      发表于小程序端
      2021-09-28

      一天天就知道说申诉申诉。申诉7天甚至10多天才有结果。不恢复没生意,我们吃土嘛

      2021-09-28
      回复
  • 众寻网陈明
    众寻网陈明
    2021-04-09

    同问同问,这样的恶意拦截,真的能把一个公司搞死,慢慢的,就没有人再想着用微信支付商户号了,太霸道了,刚申请的,用着就显示异常,也不给具体原因,反馈无结果

    2021-04-09
    有用 2
    回复
  • 武松
    武松
    2021-05-20

    后续解决了吗

    2021-05-20
    有用
    回复
登录 后发表内容
问题标签