收藏
回答

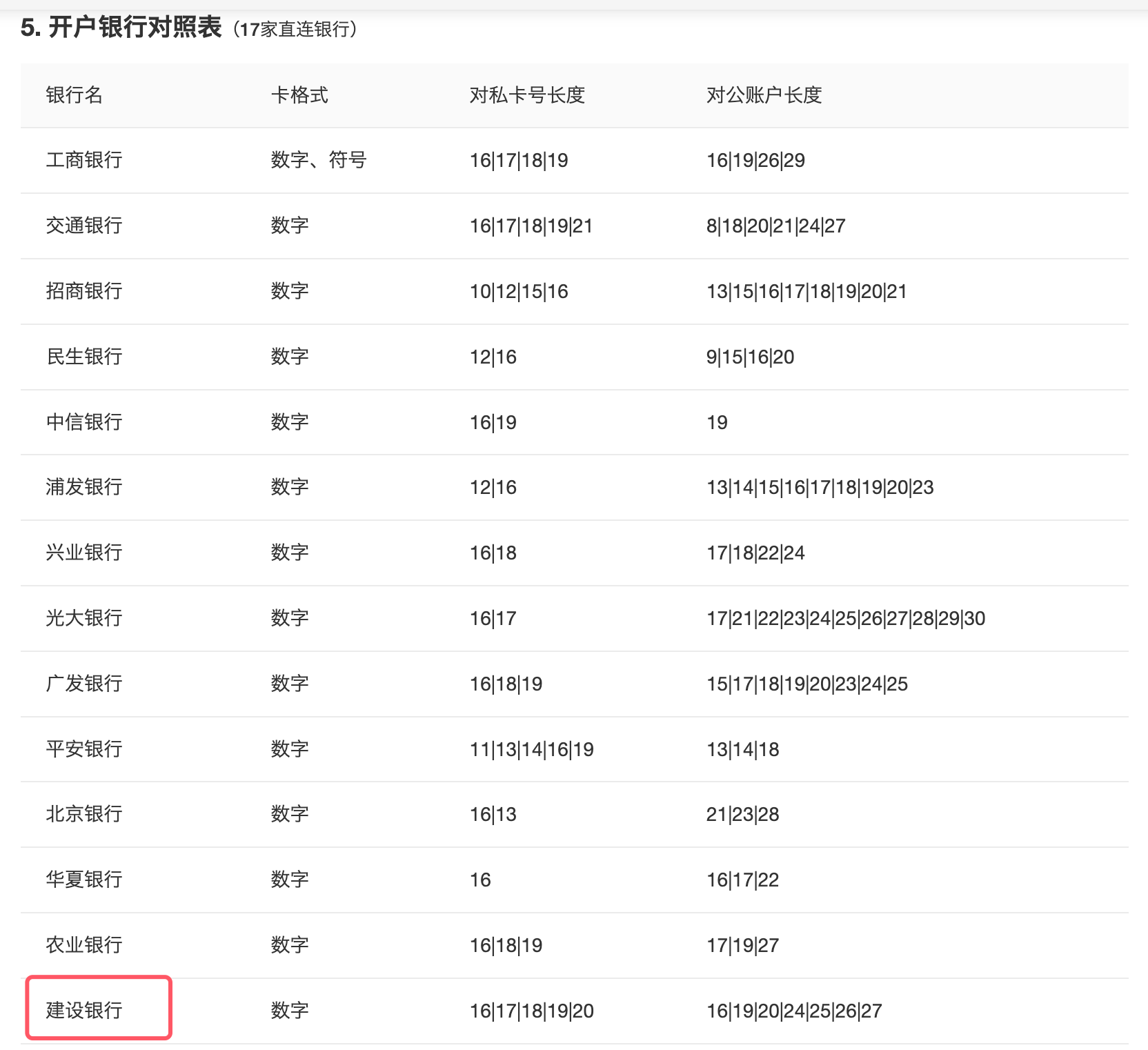
apiV3微信商户进件提示:开户银行取值有误,不在微信支付提供的银行对照表中,请检查后再试

apiV3微信商户进件提示:开户银行取值有误,不在微信支付提供的银行对照表中,请检查后再试!

对照过微信提供的17家直连银行的,在微信的商户进件页面也查询到了该银行及其支行

回答关注问题邀请回答
收藏

3 个回答

  • Memory (私信不回复)
    Memory (私信不回复)
    2022-12-13

    这里一直没有带“中国”两个字

    2022-12-13
    有用 1
    回复 2
    • 王亚东
      王亚东
      2022-12-13
      这个是不是没有实时获取的接口,如果微信开放出来这个接口直接调用会不会更准确
      2022-12-13
      回复
    • Memory (私信不回复)
      Memory (私信不回复)
      2022-12-13回复王亚东
      直连银行列表无接口
      2022-12-13
      回复
  • 北望沣渭
    北望沣渭
    2022-12-13

    一字之差,谬之千里。我见到过填 “其它银行” 的,而服务端只认“其他银行”...

    2022-12-13
    有用
    回复
  • 青寒
    青寒
    2022-12-13

    "account_bank": "建设银行"

    2022-12-13
    有用
    回复 2
    • 王亚东
      王亚东
      2022-12-13
      对照表里面是带有中国建设银行的,这个对照表变更了吗
      2022-12-13
      回复
    • 青寒
      青寒
      2022-12-13回复王亚东
      你看的那是全称对照。
      2022-12-13
      回复
登录 后发表内容