收藏
回答

关于商户号支付权限被关闭要如何解封?

各位官方工作人员你们好,我司微信商户号突然被限制了10笔交易,前天申诉,申诉结果是直接把我司商户号支付权限关闭了。我们真的不明白哪里违约了,我们此商户号一直用于小程序上,没有用其他项目,并且我们的小程序是正规符合小程序运营规范的。能不能帮忙复查一下,还望指明违约的地方,如果是我司存在问题,我司必定根据微信官方规范整改!感谢!



回答关注问题邀请回答
收藏

4 个回答

  • H.D.L
    H.D.L
    2019-09-25

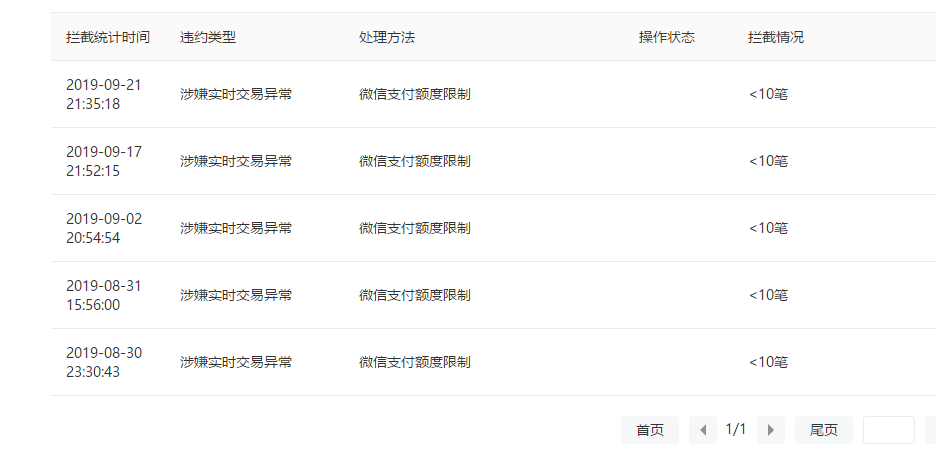
    商户号是:1498697702

    2019-09-25
    有用 1
    回复 3
    • H.D.L
      H.D.L
      2019-09-26
      官方工作人员呢?能不能回个信息,公司运营的都是正规、符合运营规范的小程序,现在支付这样莫名其妙被关了,公司已经不能正常营业,真是火大。
      2019-09-26
      回复
    • GP
      GP
      2019-12-06
      请问你最后怎么处理的呢
      2019-12-06
      回复
    • H.D.L
      H.D.L
      2019-12-06回复GP
      注销公司,回去打工
      2019-12-06
      回复
  • 吴永仙
    吴永仙
    2022-06-16

    商户暂停结算或者冻结资金是因为违规操作,正常使用是不会出现这样的情况,冻结是不会自动解封的,我有这个方面的能力和技术解决这个问题aoligei01688

    2022-06-16
    有用
    回复
  • 软件开发℡¹⁸¹⁴⁶⁶²⁹¹⁴³
    软件开发℡¹⁸¹⁴⁶⁶²⁹¹⁴³
    2019-12-02

    我的也是,之前一直用于小程序支付测试, 我自己开发小程序的,用来做支付测试的,把我的权限给关闭了,一直能支付,就是不能提现结算。妈的,里面一万多块钱。只能用于退款

    2019-12-02
    有用
    回复 2
    • H.D.L
      H.D.L
      2019-12-06
      回去打工吧,我们是外包公司,没了支付,给客户开发小程序都不方便。
      2019-12-06
      回复
    • 软件开发℡¹⁸¹⁴⁶⁶²⁹¹⁴³
      软件开发℡¹⁸¹⁴⁶⁶²⁹¹⁴³
      2021-03-02回复H.D.L
      把你卡封了,钱就是他们 的了,还像客户给你解决,做梦。客服回都不回你消息。我卡上封了一万多,现在交易订单都被删除了。
      2021-03-02
      回复
  • 贾
    2019-10-15

    我们也是一样 同求原因和怎么解冻

    2019-10-15
    有用
    回复 4
    • H.D.L
      H.D.L
      2019-10-15
      一言不合就斩杀,莫名其妙,真的很不合理。如果真是我们哪里违规了,指明一下,我们可以整改,哎。
      2019-10-15
      回复
    • 贾
      2019-10-15回复H.D.L
      你们多少天了 还没解冻吗
      2019-10-15
      回复
    • H.D.L
      H.D.L
      2019-10-15
      上个月底封的。官方也不回个信息,估计没希望了
      2019-10-15
      回复
    • 队长
      队长
      2020-06-17回复H.D.L
      现在怎么样了?有结果吗?
      2020-06-17
      回复
登录 后发表内容