收藏
回答

微信付款码支付 返回的结果缺少openid transaction_id 两个参数值?

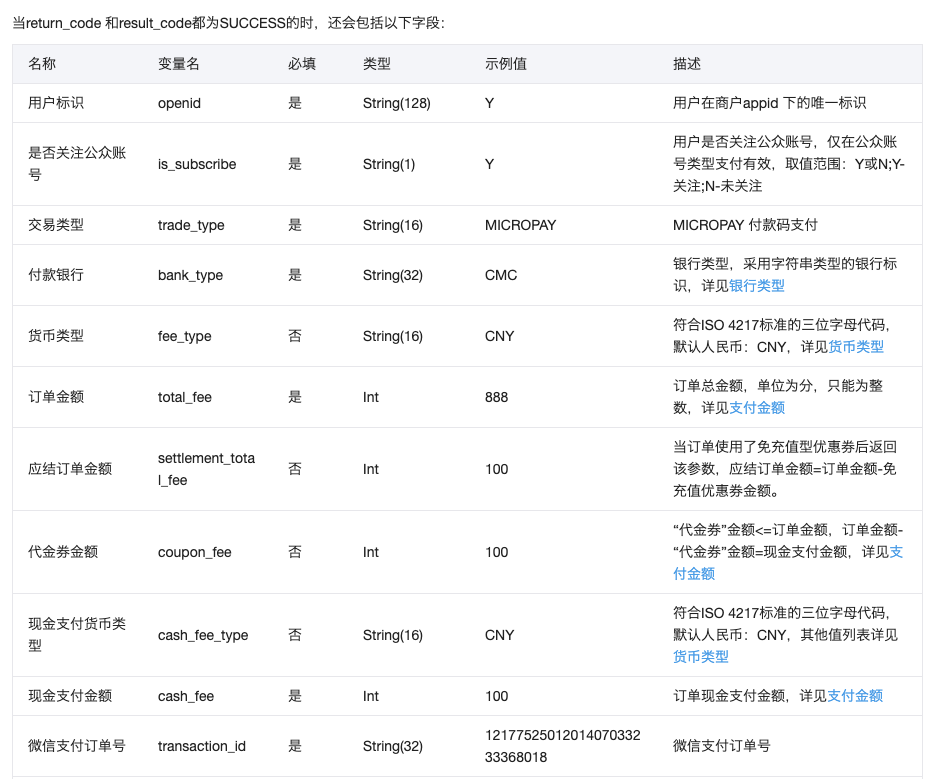
返回的结果 return_code 和result_code都为SUCCESS

但返回的结果里 缺少 openid transaction_id

回答关注问题邀请回答
收藏

1 个回答

  • 维她命系
    维她命系
    2020-04-07

    只有 openid 和 transcation_id 这两个字段没有,还是其它参数都没有?该返回值有好几个必填字段。

    2020-04-07
    有用
    回复 8
    • ---
      ---
      2020-04-07
      我只用到openid transcation_id 两个值 日志也只记录这两个值 其它字段不清楚 线上报的错 偶尔会发生
      2020-04-07
      回复
    • 维她命系
      维她命系
      2020-04-08回复---
      加上日志,报错的时候记录下所有返回值,跟踪下看看是不是能找到原因。
      2020-04-08
      回复
    • ---
      ---
      2020-04-08回复维她命系
      本次交易存在风险,为保障资金安全,暂时不能付款。
      2020-04-08
      回复
    • ---
      ---
      2020-04-08
      微信返回的是这个 是付款码支付的
      2020-04-08
      回复
    • 维她命系
      维她命系
      2020-04-09回复---
      交易金额很大吗?微信帐号是否存在异地登录?
      2020-04-09
      回复
    查看更多(3)
登录 后发表内容
问题标签