收藏
回答

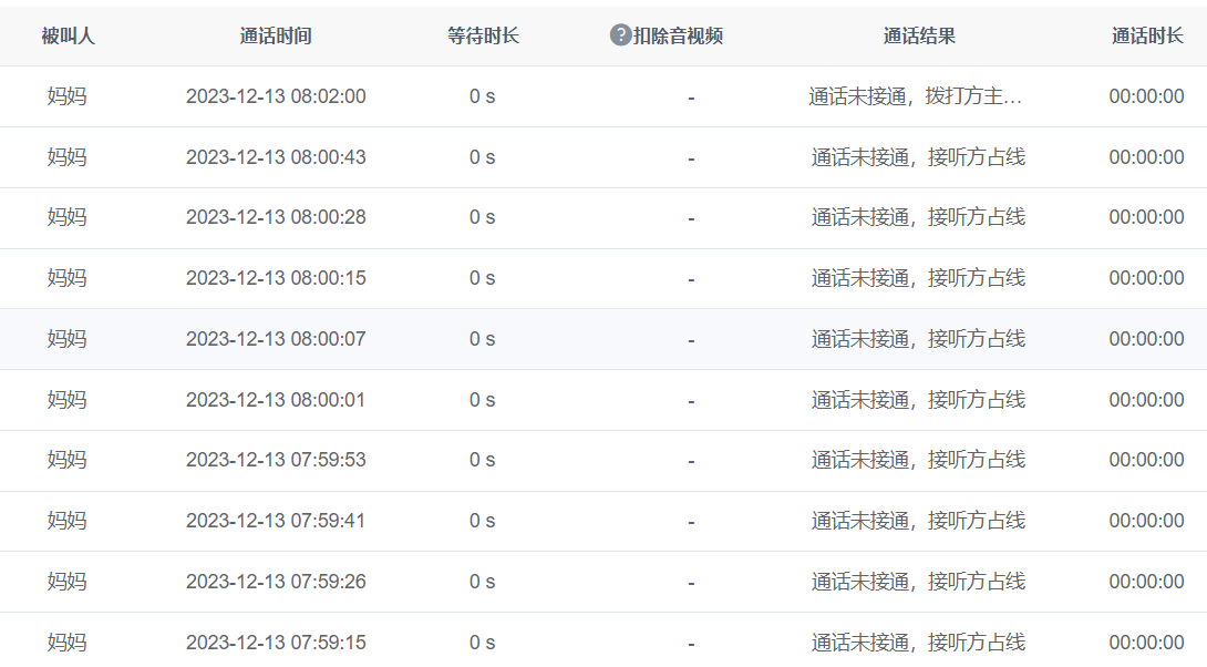
话机占线,实际是不占线?

设备sn:XYWR2023072723D6FD

groupId : wxf830863afde621ebWmpfVoip15581428802456655598

最后一次编辑于  2023-12-13
回答关注问题邀请回答
收藏

2 个回答

  • 晨
    2023-12-14

    这个case是微信的一个老bug导致的,8.0.44 已修复,该版本目前还在灰度发布,如果紧急可以官网下载更新下

    2023-12-14
    有用
    回复 3
    • zkzxzzj
      zkzxzzj
      2023-12-22
      从家长反馈,安卓8044还是会出现busy,发生时间2023-12-22的12:28 到12:33分。


      家长手机端日志已上传,但是不知道他上传正确了没。


      sn:3002338000205,openId:o8m9h5MjvRrQJM-JDLPJ4A3J29PY
      2023-12-22
      回复
    • 晨
      2023-12-22回复zkzxzzj
      8.0.44 还是有些没处理到的情况,8.0.45 又修复了一版,可以等等新版本。尴尬
      2023-12-22
      回复
    • zkzxzzj
      zkzxzzj
      2024-01-24回复
      ios8046仍然复现,
      openid:o8m9h5Nb-IcanN3J0YOCUAFUURYU
      sn:300235000005
      时间:2024-01-18 21:58:42~2024-01-23 18:19:00,一共6通,全是busy。
      2024-01-24
      回复
  • zkzxzzj
    zkzxzzj
    2023-12-13

    微信8043bug,升级8044

    2023-12-13
    有用
    回复 2
    • 申健
      申健
      2023-12-13
      家长说无法升级到8.0.44
      2023-12-13
      回复
    • zkzxzzj
      zkzxzzj
      2023-12-13回复申健
      这跟技术无关了。微信官网已经出了8044。应用市场没上,点更新又说无更新。不知道微信搞什么飞机。自行去官网下载。
      2023-12-13
      回复
登录 后发表内容