最近一系列的事情,我也想尝试写篇小作文了,这篇文章也不代表我所在的公司和可能的所有合作方,只是觉得视频号这种不尊重人和傲慢的作风,需要有人来批评一下。希望官方能仔细认真的看一看。
=========
一、上帝选中的男人
一手缔造了微信的腾讯公司副总裁张小龙,被誉为中国最牛的产品经理,而其本人也毫不避讳的说自己是上帝选中的男人,微信能成为如今的样子,光靠个人努力是做不到的。
但是我个人对微信其实没太多的感觉,甚至某种程度上作为即时通信工具都很难说及格。刚开始工作的时候,还用QQ和QQ群,当时虽然对于QQ也有诸多批评,但是印象中主要是QQ太臃肿,较少会表示作为即时通信工具不及格的。
但是反观微博上,关于希望新增功能的话题讨论超过5000万,例如可以拖动语音进度条、部分群消息可以折叠置底、群消息撤回这些细节的功能就不说了,单向好友删除了不知道、大文件无法传输等功能,更是喊了不知道多久。
而回归初心,希望保持微信小而美的张小龙老师,不知道面对逐渐臃肿以及承载了腾讯更多希望的现实下,是否有一天也会像你当年讨厌QQ一样的讨厌微信呢?
二、对不上的账
说了这么多在铺垫还没绕到主题上,主要就是这几年张老师吹过的牛有点多,作为使用者和接下来要反馈问题的亲历者,我多少感到有些恶心,所以来翻一翻合订本。
微信的流量自然对于商家来说是一个极具诱惑力的事情,我所在的公司也在从一个传统行业积极拥抱变化,在抖音快手等各种新媒体渠道积极开拓和拓展,做的可能不算特别好,但是也在努力中。
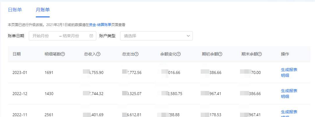
目前已经在视频号小店中运营了三四个月的时间,账户内也有一些收入了,按照正常来讲,就该提现了,不过噩梦也就来了。
钱到账不是问题,问题是得搞明白钱是怎么来的。视频号小店后台支持按照订单流水为维度来统计,账单中的信息其实很有限,不过根据观察,有结算时间的行,“商家结算”的金额刚好等于订单总价-手续费-佣金,所以理论上想加就可以得出总数了。
不过根据计算,结算总金额跟可提现的总金额总是会差几百块钱,前几天算是差300多,写这篇的时候是差200多。为了这个差距,反复核对反复找,甚至拉来了财务老师一起算,都没能核上这个金额。
三、傲慢的视频号
有问题当然不可怕,也有可能是我真的算数方面从小没怎么及格过有很大的关系,但是咱虚心求教,想搞明白这个问题。结果翻遍了视频号小店的官网,除了这个社区,我都没找到一个靠谱的反馈渠道。最后是发现了视频号的反馈邮箱,发了邮件之后,根据自动回复又找到了视频号小店的邮箱。
邮件的回复就更令人无语了,让我订单结算明细注意区分已经结算和待结算。
问题是你们自己看看你们自己导出的订单明细,哪里有明确的已结算的状态显示?有些订单都已经几个月了,用户早就收到了还是个交易成功。
我个人认为回复这封电子邮件的作者,压根就没仔细看我的邮件内容,因为我把我的推导过程尽可能写清楚了,如果还没有看明白,可以再沟通。结果直接让我再自行核算是什么意思?在我回复邮件提出质疑之后,截至到目前为止,视频号小店团队也没有再次回复邮件了。
虽然说张小龙缔造了Foxmail和QQ邮箱,但是3202年了,仍然还用邮件这么低效率的方式沟通,本来就是一个特别奇怪的事情了。但是这件事情本质其实是团队的傲慢以及不把商家放在眼里。
四、“德不配位”
正如开头提的,可能从最初简洁的微信确实承载了张小龙的想法,但时至今日微信的体验和视频号小店对于“服务”的态度来讲,很难让人称这是一个令人值得尊敬的产品。
姑且不说抖音和快手在商家端都是有客服可以在线沟通。
但凡你们团队有人真的去用过抖音电商后台的账单功能,可能做不出来这么“高级”的玩意。
根据媒体报道,微信视频号尤其是电商,可能是在新的一年要重视的板块,但是就目前来看简陋的后台和压根没有的服务,我只能说:
“德不配位”。

现在都10月份了 这个问题依然存在 钱对不清 找不到人 客服回复就是抱歉
现在甚至更加恶劣连物流信息都出现问题了 硬生生把账期拉成25+7天 侵占商家财产不犯法吗? 腾讯你们是被绑架了吗 弄出视频号小店这么坑的东西 有人知道这么才可以举报投诉吗
腾讯就是这样的,一个售后都可以弄得这么垃圾,实在搞不懂,还说要做好服务真的是笑死,店铺评分倒是没少考核,明细切看不了,出来都一年多了还这么垃圾这个团队不解散都不行了,服务费一天天的收,屁事不干
确实有非常多不完善的地方。
每个月收几万块技术服务费,结果连个客服都没有,这事情发生在2023年
你可以说,但是我也可以选择没看见
这种事情你就算写一百万篇小作文都没用,你觉得有用吗?我觉得,至少这20年,任何人都奈何不得!
唉
我们过年前也遇到一个事情,店铺经营的好好的,微信商户账号显示交易异常,店铺被关闭收款权限导致店铺停止经营了一个月,提交了申请显示审核中,一处理就是大半个月,店铺资金也提不出来,几百万货款要过年,员工工资都等着发,通过任何渠道都没有直接联系到能真正解决事情的工作人员,也不能加急,打电话给微信支付客服说,工资发不出员工要闹事情了,也没有任何解决方法,就是等,那种滋味真是不好,解决好资金账号问题的当天打算把钱提出来,店铺又显示一个冻结货款一个月,店铺后台提交了申诉,一直看不到进度,2号发的邮件14号才回复,回复的内容是3天内店铺仍有订单纠纷,申诉不通过,我想说的是店铺有经营就肯定会有纠纷,就像个别养毛党收到货申请仅退款肯定要平台介入处理,然而我们收到的回复就是天内店铺仍有订单纠纷,申诉不通过。真是去年买了个表。
说得好 但我就是不改