扫描小程序码分享
iphone XR,IOS 14.2,微信版本 7.0.18
操作系统不允许微信访问蓝牙的情况下,调用 wx.openBluetoothAdapter 这个 api,错误信息不是太明确,有考虑细分一下吗?
1 个回答
加粗
标红
插入代码
插入链接
插入图片
上传视频
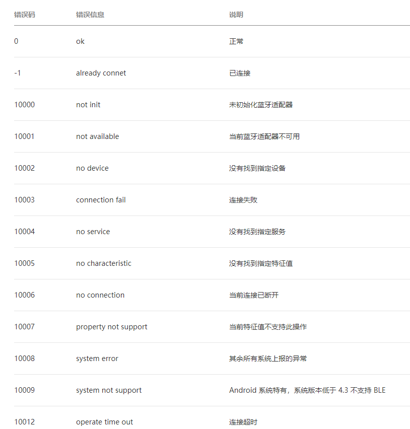
可以参照这个错误码
你好,麻烦通过点击下方“反馈信息”按钮,提供出现问题的。
关注后,可在微信内接收相应的重要提醒。
请使用微信扫描二维码关注 “微信开放社区” 公众号