收藏
回答

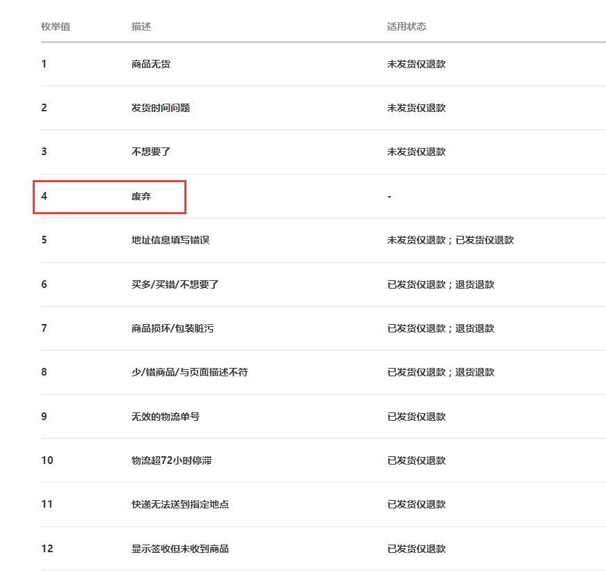
自定义交易组件,售后接口的“申请售后的理由类型“文档显示废弃的是什么意思?

回答关注问题邀请回答
收藏

1 个回答

  • 用爱发电
    用爱发电
    2022-05-23

    意思就之前这个原因不太适用,取消了

    2022-05-23
    有用
    回复 2
    • Wilson
      Wilson
      2022-05-23
      我的意思是废弃的枚举值(4)不能再拿来用,是吧?
      2022-05-23
      回复
    • 用爱发电
      用爱发电
      2022-05-23回复Wilson
      是的
      2022-05-23
      回复
登录 后发表内容