收藏
回答

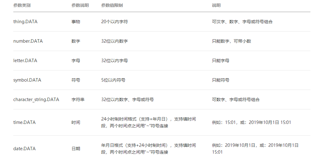
订阅消息模板 各个字段长度的限制在哪看?

订阅消息模板 各个字段长度的限制在哪看? 找了半天没找到 是没有 还是我没找到呀,该不会让我一个一个的测试吧

回答关注问题邀请回答
收藏

2 个回答

  • 纸玫瑰
    纸玫瑰
    2020-07-01

    https://developers.weixin.qq.com/miniprogram/dev/api-backend/open-api/subscribe-message/subscribeMessage.send.html


    如果感觉回答有用 请点击👇有用按钮 让答案帮助更多的人

    2020-07-01
    有用 3
    回复 3
    • 张纪年。
      张纪年。
      2020-07-01
      知道小程序订阅消息权限"{"errcode":48001,"errmsg":"api unauthorized hints: [4EadlWPfe-.yw22a!]"}"是怎么回事吗
      2020-07-01
      回复
    • 春林
      春林
      2020-07-01
      关键是 不同模块好像字段长度限制不一样啊
      2020-07-01
      回复
    • 纸玫瑰
      纸玫瑰
      2020-07-01回复春林
      主要看类型    不用管他后面的1234567  只要是啥类型 thing 类型 number类型  但是后面的数字要和模板给的数字写一样了
      2020-07-01
      回复
  • 张纪年。
    张纪年。
    2020-07-01

    订阅消息一直权限有问题请问怎么回事啊"{"errcode":48001,"errmsg":"api unauthorized hints: [4EadlWPfe-.yw22a!]"}"

    2020-07-01
    有用
    回复 6
    • 春林
      春林
      2020-07-01
      权限问题 要先让用户同意订阅再发送
      2020-07-01
      回复
    • Mr.Zhao
      Mr.Zhao
      2020-07-01回复春林
      错了,48001是没有接口调用权限,和用户同意不同意没关系
      2020-07-01
      回复
    • 张纪年。
      张纪年。
      2020-07-01回复Mr.Zhao
      那是怎么回事啊
      2020-07-01
      回复
    • 张纪年。
      张纪年。
      2020-07-01回复春林
      用户点了订阅的
      2020-07-01
      回复
    • Mr.Zhao
      Mr.Zhao
      2020-07-01回复张纪年。
      access_token是谁的,接口地址写对了没有,给出证据截图
      2020-07-01
      回复
    查看更多(1)
登录 后发表内容
问题标签